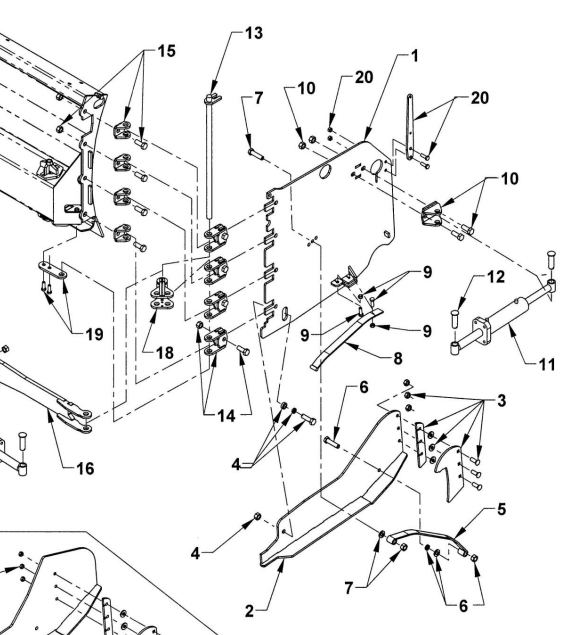
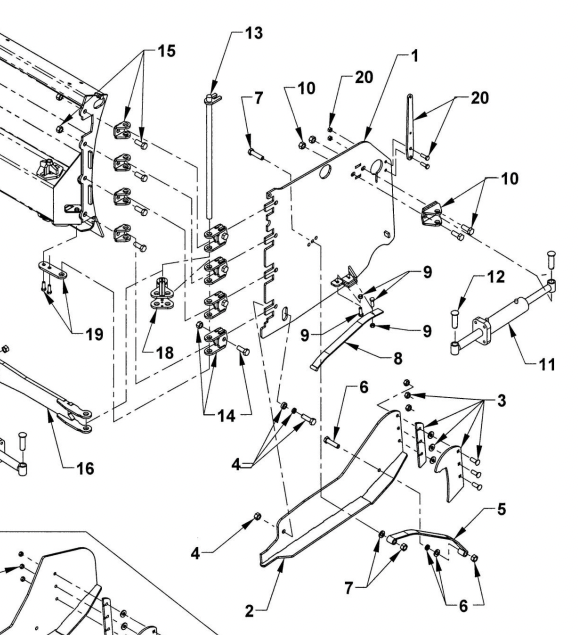
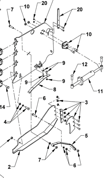
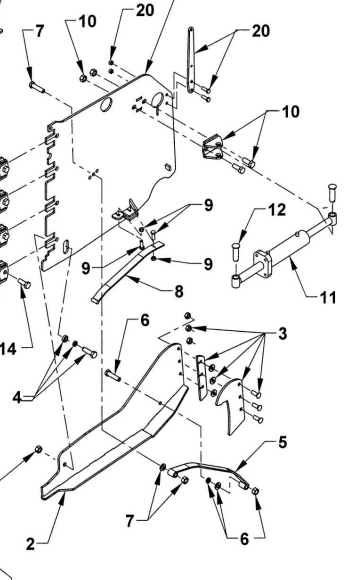
Bolt 5/8 x 3 1/2, washer 5/8, nut nylon
#7
Metal Pless Part# AG9/10-7: Bolt For Leaf Spring (Upper) is backordered and will ship as soon as it is back in stock.